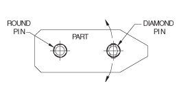
CARRLANE DIAMOND PIN CLM-200-DPY

USD $15.13

SKU: CLM-200-DPY Categorías: ,
Call Now Button